Kaksinkertainen puristusliitin liitäntäruuveilla. Liittimen nimellispinta-ala on 2 x 16 mm² ja nimellisjännite 450 V. Enimmäislämpötila +85°C. Läpinäkyvä polykarbonaattikotelo, messinkinen holkki ja sinkitty teräsruuvi.
Rutab 1440841 on kaksinkertainen puristusliitin liitäntäruuveilla. Liittimen nimellispinta-ala on 2 x 16 mm² ja nimellisjännite 450 V. Kuori on valmistettu läpinäkyvästä polykarbonaatista, messinkinen holkki ja sinkitty teräsruuvi. Käyttölämpötila enintään +85°C.
Ominaisuudet
- Väri: Väritön
- Materiaali, kotelo: Polykarbonaatti
- Materiaali, holkki: Messinki
- Materiaali, ruuvi: Sinkitty teräs
- Kaksoispuristusliitin
- Varustettu liitosruuveilla
- 30 kpl
| Tekniset tiedot: | |
| Napojen lukumäärä | 1 kpl |
| Puristimet napaa kohti | 2 kpl |
| Kytkettävien johdinten pinta-ala (yksi-/monisäikeinen) | 6-16 mm² |
| Lämpötila-alue | enintään +85°C |
| Nimellisjännite (nimellinen) | 450 V |
| Sähköliitäntä | Ruuviliitäntä |
| Nimellispinta-ala | 2 x 16 mm² |
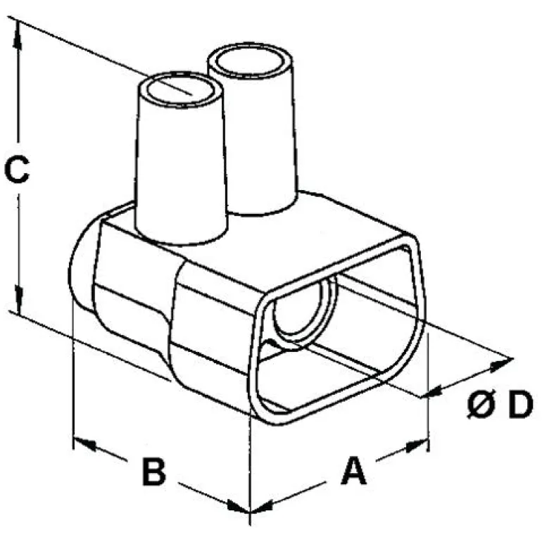
| B-mitta (katso kuva) | 22,6 mm |
| C | 24,5 mm |
| Ø D | 5,5 mm |
Kaapelin poikkipinta-ala, min. :6 mm²
Kaapelin poikkipinta-ala, maks. :16 mm²
Napojen määrä :2 st
Väri :Transparent
EAN :7332291120055
Valmistaja :
Valmistajan osoite :
Ota yhteyttä valmistajaan :Tiedot puuttuvat, ota meihin yhteyttä saadaksesi lisätietoja















Arviot
Tuotearvioita ei vielä ole.